Torna alla ricerca
Codice annuncio1269432025
Inserito il23/01/2026
Roma (Roma)

TERGICRISTALLO PER PARABREZZA DI SCOOTER

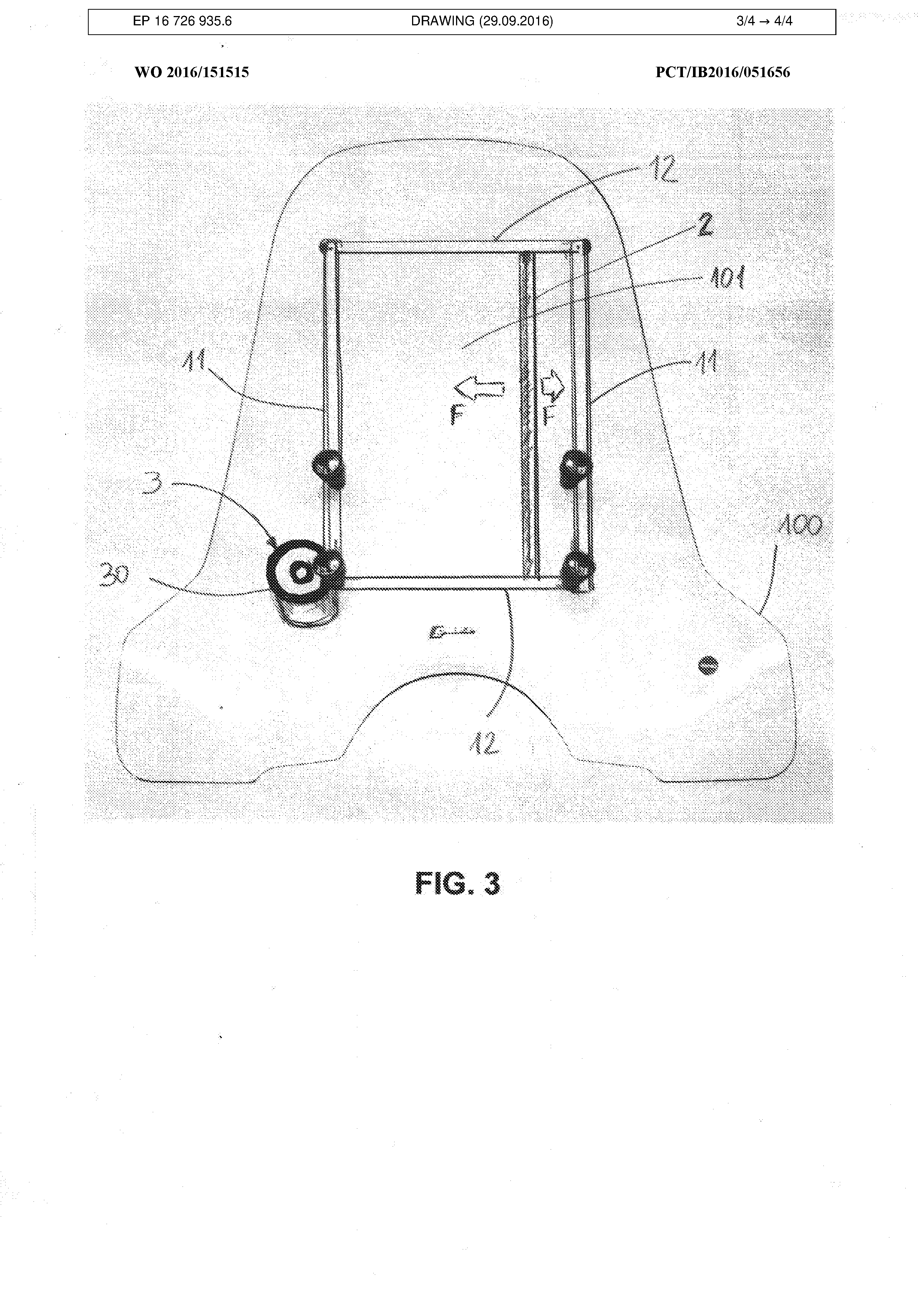
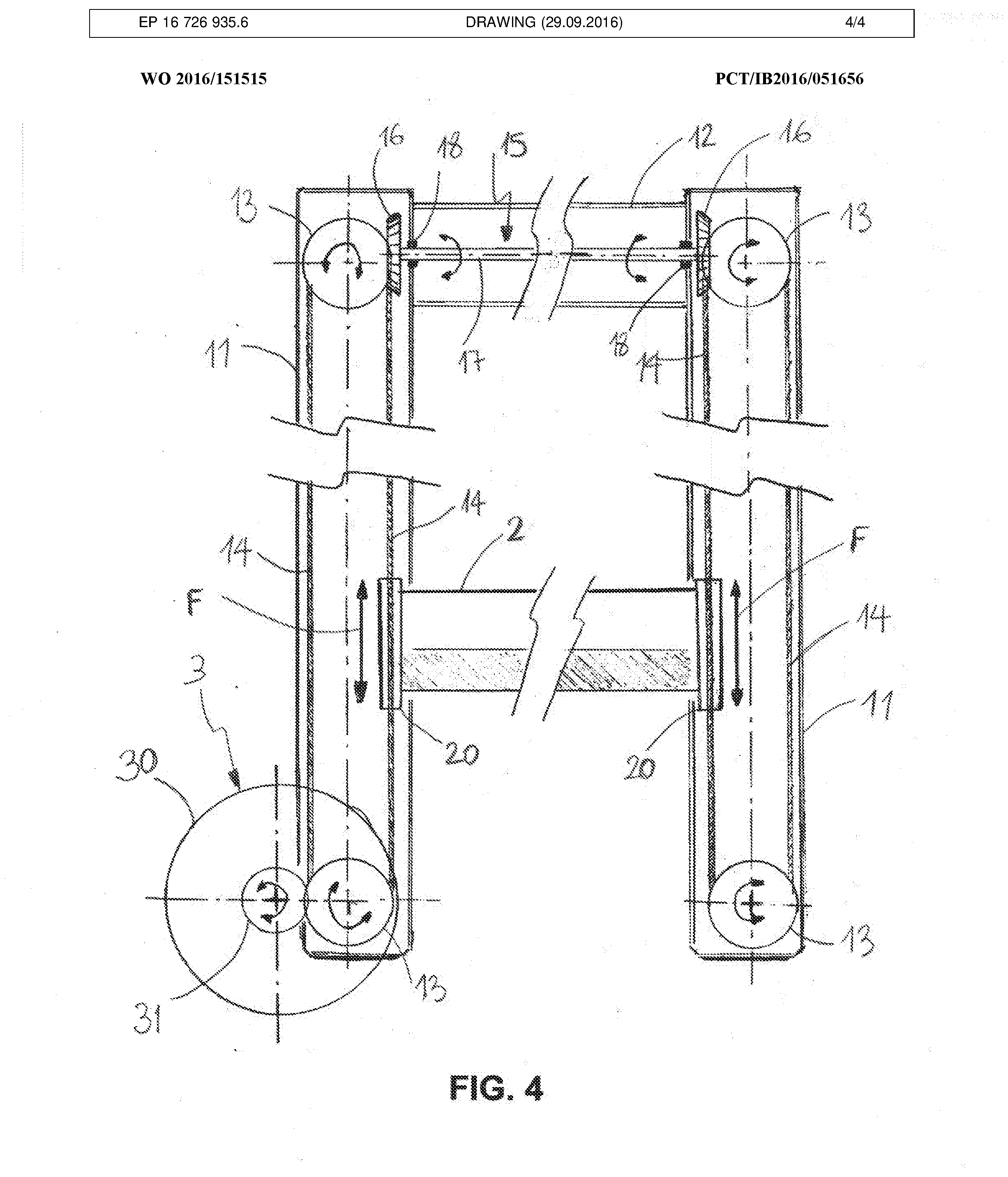
Il presente Brevetto Europeo nr. EP3274219B1 fornisce un dispositivo tergicristallo per parabrezza di scooter o simili, il quale dispositivo tergicristallo si caratterizza dal fatto di comprendere: un telaio costituito sostanzialmente da un quadrilatero rettangolare, e che è montato in modo fisso sulla superficie esterna del parabrezza, ed una spazzola longitudinale per detergere la superficie esterna del parabrezza, la spazzola è disposta in modo tale da scorrere con moto lineare sulla superficie del parabrezza tra due lati opposti del telaio rettangolare. Questa invenzione si può applicare anche a parabrezza convessi e tutte le superfici convesse.


Dettagli

  • Tipologia inserzionista
    Privato

  • Inserzionista
    annamaria

  • Comune inserzionista
    Roma (RM)

  • Categoria merceologica
    Meccanica

Posizione del bene

  • Italia, Roma - Roma
  • Devi per poter visualizzare la posizione sulla mappa.

Vuoi ricevere più informazioni su questo annuncio?

Contatta l'inserzionista

PRIVATO

annamaria

oppure