Torna alla ricerca
Codice annuncio63397374
Inserito il30/01/2026
Torino (Torino)

Kit mini eolico adattabile

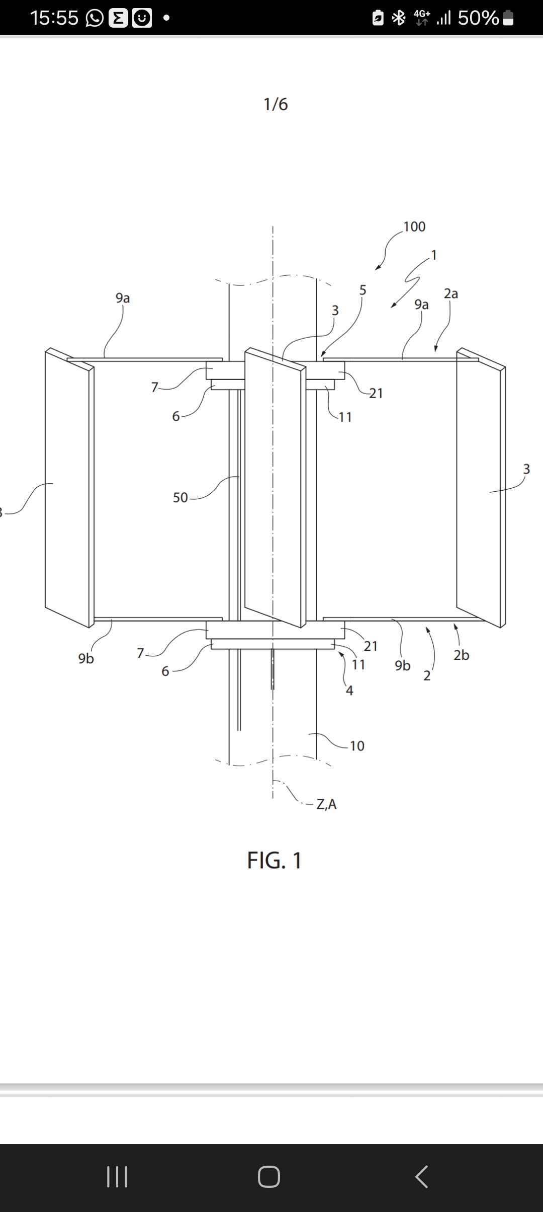
Opportunità nel settore delle energie rinnovabili: un generatore minieolico, recentemente brevettato, grazie a un particolare design innovativo, è adattabile a qualsiasi sostegno già presente, come può essere un palo di corrente o telefono, una colonna, oppure lampioni stradali lì dove i comuni lo vorranno integrare all'arredo urbano. La rotazione ad asse verticale inoltre massimizza l'efficienza di conversione dell'energia eolica ed è in grado di generare energia anche con venti di bassa intensità, garantendo così una produzione costante ed affidabile. Adatto per la casa, la campagna, il camper ecc. . Tra i principali vantaggi di questo generatore c'è: 1 il non dover per forza piantare un palo nuovo in sicurezza, visto che si sfrutta quello che si ha. 2 il non dover ubicare il dispositivo per forza sulla sommità dei pali, perché con questa soluzione lo si può mettere a qualsiasi altezza. 3 costi competitivi rispetto al solare. 4 sostenibilità ambientale perché è la risposta allo sfruttamento del suolo, tema spesso ricorrente in questi ultimi tempi.


Dettagli

  • Tipologia inserzionista
    Privato

  • Inserzionista
    Savino

  • Comune inserzionista
    Torino (Provincia)

  • Marca
    Eolico

  • Modello
    Minieolico adattabile

  • Anno
    2025 concessione

Posizione del bene

  • Italia, Torino - Torino
  • Devi per poter visualizzare la posizione sulla mappa.